Zum Hauptinhalt springen Zur Suche springen Zur Hauptnavigation springen
Originale Ersatzteile
Sichere Zahlungsarten
Sicherer DHL Versand
Einfache Online-Bestellung

Fireplace Casablanca Zugumlenkung mittig

Zugumlenkung /  Rauchgasumlenkung / Prallplatte / Rauchumlenkung / Umlenkung / Flammenschild

 

Produktinformationen "Fireplace Casablanca Zugumlenkung mittig"

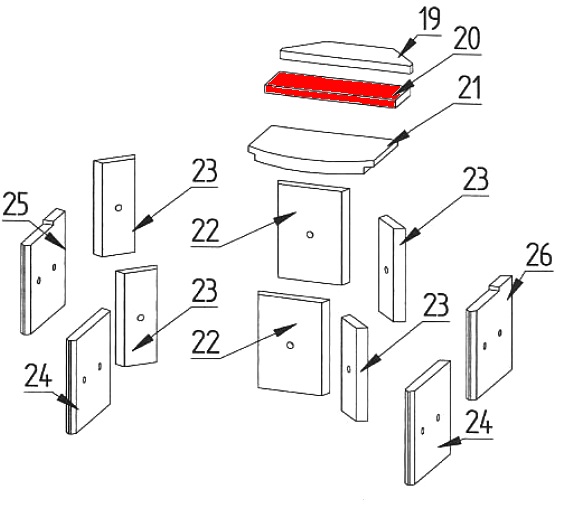
Original Zugumlenkung mittig für den Kaminofen Fireplace Casablanca

Fireplace Casablanca Zugumlenkung mittig Eckdaten:

  • Rauchgasumlenkung, Flammenschild
  • Vermiculitestein
  • Maße (B/L/H) 325 mm x 96 mm x 20 mm
  • Material Vermiculite
  • Position 20 in der Explosionszeichnung
Eigenschaften "Fireplace Casablanca Zugumlenkung mittig"
Hersteller: Fireplace
Material: Vermiculite
Modell: Casablanca
Ersatzteilart: Zugumlenkung

EU-Verantwortlicher

Fireplace Kft.
Vértanúk tere 4
2800 Tatabánya
HU
info@fireplace.de

Ähnliche Artikel

Fireplace Casablanca Sichtscheibe
Original Sichtscheibe für den Kaminofen Fireplace Casablanca Fireplace Casablanca Sichtscheibe Eckdaten: Glas, Kaminscheibe Maße (B/L/H) 467 mm x 305 mm x 4 mm Bogenlänge 310 mm Material Glas Form gebogen hitzebeständig
Produktnummer: 01023146

464,60 €*¹

Lieferzeit ca. 2-3 Wochen

Fireplace Casablanca Feuerraumauskleidung
Original Feuerraumauskleidung für den Kaminofen Fireplace Casablanca 13-teiliges Set Fireplace Casablanca Feuerraumauskleidung Eckdaten: 13 Stück Feuerraumauskleidung, Brennraumsteine Material Vermiculite Seitenstein links unten vorne (270/280 x 230 x 25 mm), Seitenstein rechts unten vorne (270/280 x 230 x 25 mm) Seitenstein links oben vorne (270/280 x 220/230 x 25 mm), Seitenstein rechts oben vorne (270/280 x 220/230 x 25 mm) Seitenstein links hinten unten (230 x 105 x 25 mm), Seitenstein rechts hinten unten (230 x 105 x 25 mm) Seitenstein links hinten oben (230 x 105 x 25 mm), Seitenstein rechts hinten oben (230 x 105 x 25 mm) Rückwandstein unten (230 x 180 x 25 mm), Rückwandstein oben (230 x 180 x 25 mm) Zugumlenkung unten (310 x 270 x 30 mm), Zugumlenkung mittig (325 x 96 x 20 mm) Zugumlenkung oben (323/170 x 97 x 20 mm) der Ascherost ist nicht enthalten
Produktnummer: 01024030

295,93 €*¹

Lieferzeit ca. 2-3 Wochen

Fireplace Casablanca Türdichtung
Türdichtung für den Kaminofen Fireplace Casablanca Für die Montage wird ein Kleber benötigt. Auch empfehlen wir Dichtungsabbinder, damit die Dichtschnur-Enden nicht ausfransen. Zum Verbinden der Enden bieten wir zusätzliche Dichtungshülsen. Fireplace Casablanca Türdichtung Eckdaten: Türband, Dichtung Kordeldichtung Länge 3,00 m Durchmesser 9 mm
Produktnummer: 01024101

Inhalt: 3 Meter (16,21 €*¹ / 1 Meter)

48,63 €*¹

Sofort verfügbar, Lieferzeit: 2-4 Tage

Fireplace Casablanca Scheibendichtung
Scheibendichtung für den Kaminofen Fireplace Casablanca Fireplace Casablanca Scheibendichtung Eckdaten: Glasdichtung, Dichtung Flachdichtung Maße (B/H) 8 mm x 2 mm Länge 2,00 m selbstklebend
Produktnummer: 01024710

Inhalt: 2 Meter (16,54 €*¹ / 1 Meter)

33,07 €*¹

Sofort verfügbar, Lieferzeit: 2-4 Tage

Fireplace Casablanca Ascherost
Original Ascherost für den Kaminofen Fireplace Casablanca Fireplace Casablanca Ascherost Eckdaten: Kaminrost, Ofenrost Maße (B/L/H) 270 mm x 272 mm x 29 mm Material Guss
Produktnummer: 01047992

170,85 €*¹

Sofort verfügbar, Lieferzeit: 2-4 Tage