Zum Hauptinhalt springen Zur Suche springen Zur Hauptnavigation springen
Originale Ersatzteile
Sichere Zahlungsarten
Sicherer DHL Versand
Einfache Online-Bestellung

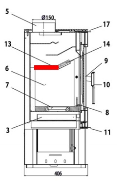
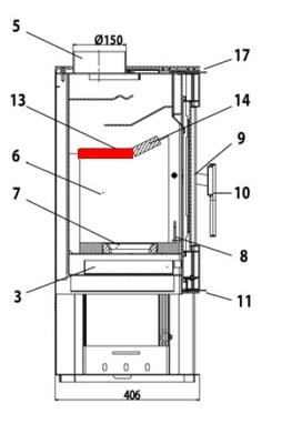
Haas+Sohn Dalen 304.15 Zugumlenkung hinten

Zugumlenkung /  Rauchgasumlenkung / Prallplatte / Rauchumlenkung / Umlenkung / Flammenschild

 

Produktinformationen "Haas+Sohn Dalen 304.15 Zugumlenkung hinten"

Original Zugumlenkung hinten für den Kaminofen Haas-Sohn Dalen 304.15

Haas-Sohn Dalen 304.15 Zugumlenkung hinten Eckdaten:

  • Rauchumlenkung, Umlenkung
  • Maße (B/L/H) 160 mm x 420 mm x 25 mm
  • Material Schamotte
  • Position 13 in der Explosionszeichnung
Eigenschaften "Haas+Sohn Dalen 304.15 Zugumlenkung hinten"
Hersteller: Haas-Sohn
Material: Schamotte
Typ: 304.15
Modell: Dalen
Ersatzteilart: Zugumlenkung

EU-Verantwortlicher

Haas + Sohn Ofentechnik GmbH
Urstein Nord 67
5412 Puch
AT
info@haassohn.com

Ähnliche Artikel

Nur 3 auf Lager!
Haas+Sohn Dalen 304.15 Sichtscheibe
Original Sichtscheibe für den Kaminofen Haas-Sohn Dalen 304.15 Haas-Sohn Dalen 304.15 Sichtscheibe Eckdaten: Türglas, Kaminscheibe Maße (B/L/H) 319 mm x 414 mm x 4 mm Material Glas Form rechteckig Position 12 in der Explosionszeichnung
Produktnummer: 01000383

202,89 €*¹

Sofort verfügbar, Lieferzeit: 2-4 Tage

Haas+Sohn Dalen 304.15 Ascherost
Original Ascherost für den Kaminofen Haas-Sohn Dalen 304.15 Haas-Sohn Dalen 304.15 Ascherost Eckdaten: Feuerrost, Holzofenrost Maße (B/L) 260 mm x 152 mm Material Guss
Produktnummer: 01010558

95,27 €*¹

Lieferzeit ca. 2-3 Wochen

Nur 2 auf Lager!
Haas+Sohn Dalen 304.15 Türdichtung
Original Türdichtung für den Kaminofen Haas-Sohn Dalen 304.15 Wir empfehlen einen Kleber für die Montage. Auch bieten wir Dichtungsabbinder, die das Ausfransen der Enden verhindern. Zusätzliche Dichtungshülsen, zum Verbinden der Enden, sind ebenfalls bei uns erhältlich. Haas-Sohn Dalen 304.15 Türdichtung Eckdaten: Dichtschnur, Holzofenschnur Kordeldichtung Länge 3,00 m Durchmesser 14 mm
Produktnummer: 01015989

Inhalt: 3 Meter (30,35 €*¹ / 1 Meter)

91,05 €*¹

Sofort verfügbar, Lieferzeit: 2-4 Tage

Haas+Sohn Dalen 304.15 Scheibendichtung
Scheibendichtung für den Kaminofen Haas-Sohn Dalen 304.15 Haas-Sohn Dalen 304.15 Scheibendichtung Eckdaten: Dichtschnur, Ofenschnur Flachdichtung Maße (B/H) 10 mm x 2 mm Länge 3,00 m selbstklebend
Produktnummer: 01016076

Inhalt: 3 Meter (11,65 €*¹ / 1 Meter)

34,96 €*¹

Sofort verfügbar, Lieferzeit: 2-4 Tage

Haas+Sohn Dalen 304.15 Feuerraumauskleidung
Original Feuerraumauskleidung für den Kaminofen Haas-Sohn Dalen 304.15 10-teiliges Set Haas-Sohn Dalen 304.15 Feuerraumauskleidung Eckdaten: 10 Stück Feuerraumauskleidung, Brennraumsteine Material Schamotte Bodenstein vorne (260 x 64 x 30 mm), Bodenstein hinten (260 x 64 x 30 mm) Bodenstein links (280 x 64 x 30 mm), Bodenstein rechts (280 x 64 x 30 mm) Seitenstein links (330 x 250 x 30 mm), Seitenstein rechts (330 x 250 x 30 mm) Rückwandstein links (280 x 220 x 30 mm), Rückwandstein rechts (280 x 220 x 30 mm) Zugumlenkung vorne (420 x 80 x 25 mm), Zugumlenkung hinten (420 x 160 x 25 mm)
Produktnummer: 01020565

514,38 €*¹

Lieferzeit ca. 2-3 Wochen