Zum Hauptinhalt springen Zur Suche springen Zur Hauptnavigation springen
Originale Ersatzteile
Sichere Zahlungsarten
Sicherer DHL Versand
Einfache Online-Bestellung

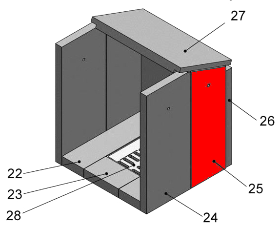
Justus Lagos Seitenstein rechts hinten

Seitenstein /  Brennraumstein / Feuerraumstein / Kaminofenstein / Brennofenstein / Ofenstein / Holzofenstein

 

Produktinformationen "Justus Lagos Seitenstein rechts hinten"

Original Seitenstein rechts hinten für den Kaminofen Justus Lagos

Justus Lagos Seitenstein rechts hinten Eckdaten:

  • Kaminofenstein, Ofenstein
  • Vermiculitesteine
  • Maße (B/L/H) 135 mm x 395 mm x 25 mm
  • Material Vermiculite
Eigenschaften "Justus Lagos Seitenstein rechts hinten"
Hersteller: Justus
Material: Vermiculite
Modell: Lagos
Ersatzteilart: Seitenstein

EU-Verantwortlicher

Justus GmbH
Sechsheldener Straße 122
35708 Haiger-Sechshelden
DE
info@justus.de

Ähnliche Artikel

Nur 2 auf Lager!
Justus Lagos Sichtscheibe
Original Sichtscheibe für den Kaminofen Justus Lagos Justus Lagos Sichtscheibe Eckdaten: Kaminglas, Kaminscheibe Maße (B/L/H) 322 mm x 383 mm x 4 mm Material Glas Form rechteckig hitzebeständig
Produktnummer: 01001656

211,15 €*¹

Sofort verfügbar, Lieferzeit: 2-4 Tage

Justus Lagos Ascherost
Original Ascherost für den Kaminofen Justus Lagos Justus Lagos Ascherost Eckdaten: Brennraumrost, Feuerraumrost Maße (B/L/H) 135 mm x 135 mm x 30 mm Material Guss
Produktnummer: 01016284

58,71 €*¹

Sofort verfügbar, Lieferzeit: 2-4 Tage

Justus Lagos Zugumlenkung
Original Zugumlenkung für den Kaminofen Justus Lagos Justus Lagos Zugumlenkung Eckdaten: Rauchgasumlenkung, Rauchumlenkung Vermiculitestein Maße (B/L/H) 347 mm x 212 mm x 25 mm Material Vermiculite Position 27 in der Explosionszeichnung
Produktnummer: 01016784

41,50 €*¹

Sofort verfügbar, Lieferzeit: 2-4 Tage

Justus Lagos Türdichtung Set
Türdichtung Set für den Kaminofen Justus Lagos 5-teiliges Set Justus Lagos Türdichtung Eckdaten: Dichtband, Dichtschnur Kordeldichtung Länge 3m Durchmesser 10mm Kleber Eckdaten: 1 Stück Inhalt 17ml hitzebeständig Dichtungshülse Eckdaten: 1 Stück Durchmesser 10mm Dichtungsabbinder 2 Streifen
Produktnummer: 01018322

44,61 €*¹

Sofort verfügbar, Lieferzeit: 2-4 Tage

Justus Lagos Scheibendichtung
Scheibendichtung für den Kaminofen Justus Lagos Justus Lagos Scheibendichtung Eckdaten: Dichtschnur, Holzofenschnur Hohlkordeldichtung Länge 2,00 m Durchmesser 6 mm selbstklebend
Produktnummer: 01019362

Inhalt: 2 Meter (12,23 €*¹ / 1 Meter)

24,46 €*¹

Sofort verfügbar, Lieferzeit: 2-4 Tage

Nur 1 auf Lager!
Justus Lagos Feuerraumauskleidung
Original Feuerraumauskleidung für den Kaminofen Justus Lagos Justus Lagos Feuerraumauskleidung Eckdaten: Material Vermiculite Bodenstein vorne (135 x 90 x 30 mm), Bodenstein hinten (135 x 90 x 30 mm) Bodenstein links (85 x 310 x 30 mm), Bodenstein rechts (85 x 310 x 30 mm) Rückwandstein links 2-fach gelocht (175 x 329 x 25 mm) Rückwandstein rechts 2-fach gelocht (175 x 329 x 25 mm) Seitenstein rechts vorne 1-fach gelocht (173 x 400/395 x 25 mm) Seitenstein links vorne 1-fach gelocht (173 x 400/395 x 25 mm) Seitenstein rechts hinten 1-fach gelocht (135 x 395/345 x 25 mm) Seitenstein links hinten 1-fach gelocht (135 x 395/345 x 25 mm) Zugumlenkung (345 x 212 x 25 mm) rot markiert in der Explosionszeichnung
Produktnummer: 01019837

247,45 €*¹

Sofort verfügbar, Lieferzeit: 2-4 Tage