Zum Hauptinhalt springen Zur Suche springen Zur Hauptnavigation springen
Originale Ersatzteile
Sichere Zahlungsarten
Sicherer DHL Versand
Einfache Online-Bestellung

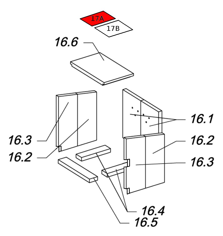
Justus Ohio Zugumlenkung oben links B

Zugumlenkung /  Rauchgasumlenkung / Prallplatte / Rauchumlenkung / Umlenkung / Flammenschild

 

Produktinformationen "Justus Ohio Zugumlenkung oben links B"

Original Zugumlenkung oben links B für den Kaminofen Justus Ohio

  • Es gibt verschiedene Ausmauerungen für dieses Modell. Bitte orientieren Sie sich an den Aussparungen der vorderen Seitensteine.
  • Erfahrungsgemäß passt dieser Feuerraumstein in den Feuerraum, dessen vordere Seitensteine Aussparungen aufweisen.

Justus Ohio Zugumlenkung oben links Eckdaten:

  • Rauchgasumlenkung, Umlenkung
  • Vermiculitesteine
  • Maße (B/L/H) 159 mm x 121 mm x 25 mm
  • Material Vermiculite
  • Position 17.A in der Explosionszeichnung
Eigenschaften "Justus Ohio Zugumlenkung oben links B"
Hersteller: Justus
Material: Vermiculite
Modell: Ohio
Ersatzteilart: Zugumlenkung

EU-Verantwortlicher

Justus GmbH
Sechsheldener Straße 122
35708 Haiger-Sechshelden
DE
info@justus.de

Ähnliche Artikel

Nur 1 auf Lager!
Justus Ohio Zugumlenkung unten B
Original Zugumlenkung unten B für den Kaminofen Justus Ohio Es gibt verschiedene Ausmauerungen für dieses Modell. Bitte orientieren Sie sich an den Aussparungen der vorderen Seitensteine. Erfahrungsgemäß passt dieser Feuerraumstein in den Feuerraum, dessen vordere Seitensteine Aussparungen aufweisen. Justus Ohio Zugumlenkung unten Eckdaten: Rauchgasumlenkung, Rauchumlenkung Maße (B/L/H) 375/332 mm x 228/206 mm x 25 mm Material Vermiculite Form rechteckig Position 16.6 in der Explosionszeichnung
Produktnummer: 01003170

41,50 €*¹

Sofort verfügbar, Lieferzeit: 2-4 Tage

Nur 2 auf Lager!
Justus Ohio Zugumlenkung oben rechts B
Original Zugumlenkung oben rechts B für den Kaminofen Justus Ohio Es gibt verschiedene Ausmauerungen für dieses Modell. Bitte orientieren Sie sich an den Aussparungen der vorderen Seitensteine. Erfahrungsgemäß passt dieser Feuerraumstein in den Feuerraum, dessen vordere Seitensteine Aussparungen aufweisen. Justus Ohio Zugumlenkung oben rechts Eckdaten: Rauchumlenkung, Flammenschild Maße (B/L/H) 121 mm x 159 mm x 25 mm Material Vermiculite Position 17 A in der Explosionszeichnung
Produktnummer: 01017174

18,66 €*¹

Sofort verfügbar, Lieferzeit: 2-4 Tage

Justus Ohio Feuerraumauskleidung B
Original Feuerraumauskleidung B für den Kaminofen Justus Ohio Es gibt verschiedene Ausmauerungen für dieses Modell. Bitte orientieren Sie sich an den Aussparungen der vorderen Seitensteine. In dieser Garnitur weisen die vorderen Seitensteine Aussparungen auf. 12-teiliges Set Justus Ohio Feuerraumauskleidung Eckdaten: 12 Stück Feuerraumauskleidung, Brennraumsteine Material Vermiculite Bodenstein vorne (336 x 79 x 25 mm) Bodenstein links (58 x 220 x 25 mm), Bodenstein rechts (58 x 220 x 25 mm) Seitenstein links vorne mit einer Aussparung (165 x 356/380 x 25 mm), Seitenstein links hinten (165 x 335/356 x 25 mm) Seitenstein rechts vorne mit zwei Aussparungen (165 x 356/380 x 25 mm), Seitenstein rechts hinten (165 x 335/356 x 25 mm) Rückwandstein links 3-fach gelocht (191 x 335 x 25 mm), Rückwandstein rechts 3-fach gelocht (191 x 335 x 25 mm) Zugumlenkung oben links (159 x 121 x 25 mm), Zugumlenkung oben rechts (159 x 121 x 25 mm) Zugumlenkung unten (332/376 x 208/229 x 25 mm)
Produktnummer: 01020689

163,65 €*¹

Lieferzeit ca. 2-3 Wochen