Zum Hauptinhalt springen Zur Suche springen Zur Hauptnavigation springen
Originale Ersatzteile
Sichere Zahlungsarten
Sicherer DHL Versand
Einfache Online-Bestellung

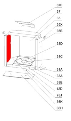
Olsberg Pago Seitenstein links vorne

Seitenstein /  Brennraumstein / Feuerraumstein / Kaminofenstein / Brennofenstein / Ofenstein / Holzofenstein

 

Produktinformationen "Olsberg Pago Seitenstein links vorne"

Original Seitenstein links vorne für den Kaminofen Olsberg Pago

  • Der Hersteller hat die Produktion dieses Artikels eingestellt. Sofern wir über einen Restbestand verfügen, ist dieses Ersatzteil bei uns erhältlich

Olsberg Pago Seitenstein links vorne Eckdaten:

  • Feuerraumstein, Ofenstein
  • Maße (B/L/H) 280 mm x 335 mm x 35 mm
  • Material Schamotte
  • Position 36B in der Explosionszeichnung
Eigenschaften "Olsberg Pago Seitenstein links vorne"
Hersteller: Olsberg
Material: Schamotte
Modell: Pago
Ersatzteilart: Seitenstein

EU-Verantwortlicher

Olsberg GmbH
Hüttenstraße 38
59939 Olsberg
DE
info@olsberg.com

Ähnliche Artikel

Olsberg Pago Sichtscheibe
Original Sichtscheibe für den Kaminofen Olsberg Pago Olsberg Pago Sichtscheibe Eckdaten: Ofenglas, Glaskeramik Maße (B/L/H) 450 mm x 600 mm x 4 mm Material Glas hitzebeständig
Produktnummer: 01000488

1.245,60 €*¹

Lieferzeit ca. 2-3 Wochen

Olsberg Pago Ascherost
Original Ascherost für den Kaminofen Olsberg Pago Olsberg Pago Ascherost Eckdaten: Feuerraumrost, Brennofenrost Maße (H) 30 mm Durchmesser 204 mm Material Guss Form rund
Produktnummer: 01025007

158,34 €*¹

Lieferzeit ca. 2-3 Wochen

Olsberg Pago Türdichtung Set
Türdichtung Set für den Kaminofen Olsberg Pago 7-teiliges Set Olsberg Pago Türdichtung Eckdaten: 7-teiliges Set Kordeldichtung Durchmesser 12 mm Länge 3 m Kleber Tube 17 ml Inhalt 1 Stück Dichtungsabbinder 4 Streifen Dichtungshülse (kaschiert optimal die Enden der Dichtschnur) 1 Stück
Produktnummer: 01025934

42,19 €*¹

Sofort verfügbar, Lieferzeit: 2-4 Tage

Ausverkauft
Olsberg Pago Feuerraumauskleidung
Original Feuerraumauskleidung für den Kaminofen Olsberg Pago Der Hersteller hat die Produktion dieses Artikels eingestellt. Sofern wir über einen Restbestand verfügen, ist dieses Ersatzteil bei uns erhältlich Olsberg Pago Feuerraumauskleidung Eckdaten: 10 Stück Brennraumsteine, Schamottesteine Material Schamotte Bodenstein links (70 x 260 x 30 mm), Bodenstein rechts (70 x 260 x 30 mm) Bodenstein vorne (230 x 40 x 30 mm), Bodenstein hinten (250 x 30 x 30 mm) Seitenstein links vorne (190 x 365/420 x 30 mm), Seitenstein rechts vorne (190 x 365/420 x 30 mm) Seitenstein links hinten ( 136 x 360 x 30 mm), Seitenstien links hinten (136 x 360 x 30 mm)  Rückwandstein (230 x 333 x 30 mm) Zugumlenkung (400 x 230 x 30 mm)
Produktnummer: 01042201

569,68 €*¹

nicht mehr verfügbar, Produktion eingestellt