Zum Hauptinhalt springen Zur Suche springen Zur Hauptnavigation springen
Originale Ersatzteile
Sichere Zahlungsarten
Sicherer DHL Versand
Einfache Online-Bestellung

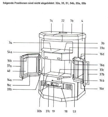
Ersatzteile Olsberg Sördal → Kaminglas, Dichtungen, Feuerraumsteine uvm.

Als Fachleute für Kaminofen-Ersatzteile bieten wir für den Olsberg Sördal eine große Auswahl an originalen Sichtscheiben, Ascherosten, Dichtungen, Brennraumsteinen und vielen weiteren Ersatzteilen. Wir helfen Ihnen gerne weiter die richtigen Teile für Ihren Olsberg Sördal zu finden. Wir bieten sehr gerne eine umfassende und kostenfreie Fachberatung durch unser Expertentelefon an.

Sie brauchen Hilfe?

Wenn Sie Ihr gewünschtes Ersatzteil nicht finden können oder sich nicht sicher sind, welche Komponente Sie benötigen, stehen wir Ihnen gerne zur Verfügung:

Telefon: 040 28 48 48 210

Kontaktformular