Zum Hauptinhalt springen Zur Suche springen Zur Hauptnavigation springen
Originale Ersatzteile
Sichere Zahlungsarten
Sicherer DHL Versand
Einfache Online-Bestellung

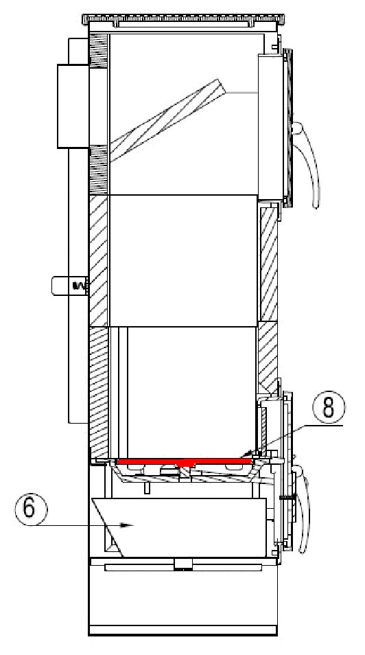
Techfire UNI-1550 Ascherost

Ascherost /  Rost / Kaminrost / Gussrost / Feuerrost / Brennraumrost / Rostgitter / Feuerraumrost / Ofenrost / Brennofenrost / Holzofenrost

 

Produktinformationen "Techfire UNI-1550 Ascherost"

Original Ascherost für den Kaminofen Techfire UNI-1550

Techfire UNI-1550 Ascherost Eckdaten:

  • Rost, Gussrost
  • Maße (H) 30 mm
  • Durchmesser 195 mm
  • Material Guss
  • Position 8 in der Explosionszeichnung
Eigenschaften "Techfire UNI-1550 Ascherost"
Hersteller: Techfire
Material: Guss
Modell: UNI-1550
Ersatzteilart: Ascherost

EU-Verantwortlicher

Techfire GmbH
ln Dürrfeldslach 11
66780 Rehlingen
DE
info@techfire.de

Ähnliche Artikel

Techfire UNI-1550 Sichtscheibe
Original Sichtscheibe für den Kaminofen Techfire UNI-1550 Techfire UNI-1550 Sichtscheibe Eckdaten: Holzofenglas, Glaskeramik Maße (B/L/H) 162 mm x 268 mm x 4 mm Material Glas Form rechteckig hitzebeständig
Produktnummer: 01001007

97,74 €*¹

Lieferzeit ca. 2-3 Wochen

Techfire UNI-1550 Scheibendichtung
Scheibendichtung für den Kaminofen Techfire UNI-1550 Wir empfehlen einen Kleber für die Montage, der punktuell auf die Dichtschnur aufgetragen wird und separat bei uns erhältlich ist. Techfire UNI-1550 Scheibendichtung Eckdaten: Glasdichtung, Dichtung Kordeldichtung Länge 1,40 m Durchmesser 6 mm
Produktnummer: 01034683

Inhalt: 1.4 Meter (18,71 €*¹ / 1 Meter)

26,20 €*¹

Sofort verfügbar, Lieferzeit: 2-4 Tage

Techfire UNI-1550 Türdichtung
Türdichtung für den Kaminofen Techfire UNI-1550 Wir empfehlen Dichtungsabbinder, durch die das Ausfransen der Enden verhindert wird. Auch bieten wir eine Dichtungshülse, um die Dichtschnurenden optimal miteinander zu verbinden. Techfire UNI-1550 Türdichtung Eckdaten: Dichtschnur, Dichtung Kordeldichtung Länge 1,95 m Durchmesser 13 mm
Produktnummer: 01034930

Inhalt: 1.95 Stück (11,94 €*¹ / 1 Stück)

23,29 €*¹

Sofort verfügbar, Lieferzeit: 2-4 Tage

Techfire UNI-1550 Zugumlenkung Set
Original Zugumlenkung Set für den Kaminofen Techfire UNI-1550 5-teiliges Set Techfire UNI-1550 Zugumlenkung Eckdaten: Material Keramik Zugumlenkung links unten (250 x 20/170 x 25 mm), Zugumlenkung rechts unten (250 x 20/170 x 25 mm) Zugumlenkung mittig unten (206/260 x 190 x 25 mm) Zugumlenkung links oben (240 x 65/175 x 25 mm), Zugumlenkung rechts oben (240 x 65/175 x 25 mm)
Produktnummer: 01037149

117,33 €*¹

Lieferzeit ca. 2-3 Wochen