Zum Hauptinhalt springen Zur Suche springen Zur Hauptnavigation springen
Originale Ersatzteile
Sichere Zahlungsarten
Sicherer DHL Versand
Einfache Online-Bestellung

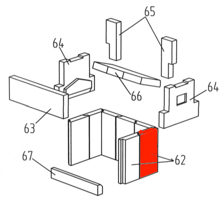
Wamsler WO 109-8 A Seitenstein rechts unten hinten

Seitenstein /  Brennraumstein / Feuerraumstein / Kaminofenstein / Brennofenstein / Ofenstein / Holzofenstein

 

Produktinformationen "Wamsler WO 109-8 A Seitenstein rechts unten hinten"

Original Seitenstein rechts unten hinten für den Werkstattofen Wamsler WO 109-8 A

Wamsler WO 109-8 A Seitenstein rechts unten hinten Eckdaten:

  • Feuerraumstein, Ofenstein
  • Schamottstein
  • Maße (B/L/H) 134 mm x 240 mm x 35 mm
  • Material Schamotte
  • Position 10 in der Explosionszeichnung
Eigenschaften "Wamsler WO 109-8 A Seitenstein rechts unten hinten"
Hersteller: Wamsler
Material: Schamotte
Typ: 109-8 A
Modell: WO
Ersatzteilart: Seitenstein

Hersteller

Wamsler


DE

Ähnliche Artikel

Wamsler WO 109-8 A Ascherost
Original Ascherost für den Kaminofen Wamsler WO 109-8 A Wamsler WO 109-8 A Ascherost Eckdaten: Feuerrost, Feuerraumrost Durchmesser 185 mm Material Guss Form rund Rostlager ist nicht enthalten
Produktnummer: 01010691

52,71 €*

Sofort verfügbar, Lieferzeit: 2-4 Tage

Nur 4 auf Lager!
Wamsler WO 109-8 A Zugumlenkung unten
Original Zugumlenkung unten A für den Küchenherd Wamsler WO 109-8 A Wamsler WO 109-8 A Zugumlenkung unten Eckdaten: Rauchumlenkung, Flammenschild Schamottstein Maße (B/L/H) 346 mm x 170 mm x 35 mm Material Schamotte Position 66 in der Explosionszeichnung
Produktnummer: 01012723

24,16 €*

Sofort verfügbar, Lieferzeit: 2-4 Tage