Zum Hauptinhalt springen Zur Suche springen Zur Hauptnavigation springen
Originale Ersatzteile
Sichere Zahlungsarten
Sicherer DHL Versand
Einfache Online-Bestellung

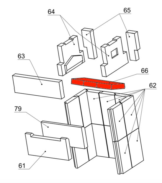
Wamsler WO 109-8 Zugumlenkung unten

Zugumlenkung /  Rauchgasumlenkung / Prallplatte / Rauchumlenkung / Umlenkung / Flammenschild

 

Produktinformationen "Wamsler WO 109-8 Zugumlenkung unten"

Original Zugumlenkung unten für den Küchenherd Wamsler WO 109-8

Wamsler WO 109-8 Zugumlenkung unten Eckdaten:

  • Rauchgasumlenkung, Flammenschild
  • Schamottstein
  • Maße (B/L/H) 346 mm x 170 mm x 35 mm
  • Material Schamotte
  • Position 66 in der Explosionszeichnung
Eigenschaften "Wamsler WO 109-8 Zugumlenkung unten"
Hersteller: Wamsler
Material: Schamotte
Typ: 109-8
Modell: WO
Ersatzteilart: Zugumlenkung

Hersteller

Wamsler


DE

Ähnliche Artikel

Wamsler WO 109-8 Ascherost
Original Ascherost für den Kaminofen Wamsler WO 109-8 Wamsler WO 109-8 Ascherost Eckdaten: Rost, Feuerrost Durchmesser 185 mm Material Guss Form rund Rostlager ist nicht enthalten
Produktnummer: 01010695

52,71 €*¹

Sofort verfügbar, Lieferzeit: 2-4 Tage