Zum Hauptinhalt springen Zur Suche springen Zur Hauptnavigation springen
Originale Ersatzteile
Sichere Zahlungsarten
Sicherer DHL Versand
Einfache Online-Bestellung

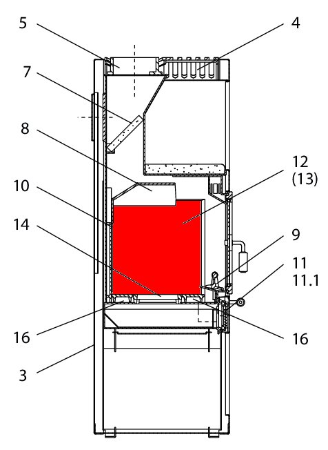
Wodtke KK 01 Seitenplatte rechts

Seitenplatte /  Gussplatte / Feuerraumplatte / Brennraumplatte

 

Produktinformationen "Wodtke KK 01 Seitenplatte rechts"

Original Seitenplatte rechts für den Kaminofen Wodtke KK 01

Wodtke KK 01 Seitenplatte rechts Eckdaten:

  • Gussplatte, Brennraumplatte
  • Maße (B/L/H) 315 mm x 284/297 mm x 15 mm
  • Material Guss
  • Position 12 in der Explosionszeichnung
Eigenschaften "Wodtke KK 01 Seitenplatte rechts"
Hersteller: Wodtke
Material: Guss
Typ: 01
Modell: KK
Ersatzteilart: Seitenplatte

EU-Verantwortlicher

wodtke GmbH
Rittweg 55 - 57
D-72070 Tübingen-Hirschau
DE
info@wodtke.com

Ähnliche Artikel

Ausverkauft
Wodtke KK 01 Sichtscheibe
Original Sichtscheibe für den Kaminofen Wodtke KK 01 Der Hersteller hat die Produktion dieses Artikels eingestellt. Sofern wir über einen Restbestand verfügen, ist dieses Ersatzteil bei uns erhältlich Wodtke KK 01 Sichtscheibe Eckdaten: Scheibe, Kaminscheibe Maße (B/L/H) 462 mm x 280 mm x 4 mm Material Glas Form flach hitzebeständig 7 Aussparungen Position 1 in der Explosionszeichnung
Produktnummer: 01001021

240,41 €*

nicht mehr verfügbar, Produktion eingestellt

Wodtke KK 01 Türdichtung
Türdichtung für den Kaminofen Wodtke KK 01 Wir empfehlen einen Kleber für die Montage, der durch punktuelles Auftragen, unterstützend wirken kann. Auch empfehlen wir Dichtungsabbinder, damit die Dichtschnur-Enden nicht ausfransen. Als optisches Highlight bieten wir ebenfalls Dichtungshülsen an. Wodtke KK 01 Türdichtung Eckdaten: Dichtschnur, Ofenschnur Kordeldichtung Länge 3,00 m Durchmesser 10 mm
Produktnummer: 01035636

45,21 €*

Sofort verfügbar, Lieferzeit: 2-4 Tage

Wodtke KK 01 Scheibendichtung
Scheibendichtung für den Kaminofen Wodtke KK 01 2-teiliges Set Wodtke KK 01 Scheibendichtung Eckdaten: Glasdichtung, Dichtschnur Kordeldichtung Länge 3 m Durchmesser 6 mm Kleber 1 Stück Inhalt 17 ml
Produktnummer: 01036362

34,58 €*

Lieferzeit ca. 2-3 Wochen

Nur 2 auf Lager!
Wodtke KK 01 Ascherost
Original Ascherost für den Kaminofen Wodtke KK 01 Wodtke KK 01 Ascherost Eckdaten: Rost, Brennofenrost Maße (B/L/H) 150 mm x 210 mm x 30 mm Stärke 15 mm Material Guss Form rechteckig Position 13 in der Explosionszeichnung
Produktnummer: 01037219

98,22 €*

Sofort verfügbar, Lieferzeit: 2-4 Tage