Zum Hauptinhalt springen Zur Suche springen Zur Hauptnavigation springen
Originale Ersatzteile
Sichere Zahlungsarten
Sicherer DHL Versand
Einfache Online-Bestellung

Justus Alma 110 Sichtscheibe Buchse

Buchse /  Hohlzylinder / Einbaubuchse

 

Produktinformationen "Justus Alma 110 Sichtscheibe Buchse"

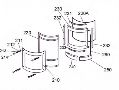
Original Buchse für Sichtscheibe für den Kaminofen Justus Alma 110

  • Pro Gerät werden 4 Stück benötigt

Justus Alma 110 Buchse für Sichtscheibe Eckdaten:

  • Lieferumfang 1 Stück
  • Hohlzylinder, Einbaubuchse
  • Durchmesser 13 mm
  • Position 213 in der Explosionszeichnung
Eigenschaften "Justus Alma 110 Sichtscheibe Buchse"
Hersteller: Justus
Typ: 110
Modell: Alma
Ersatzteilart: Buchse

EU-Verantwortlicher

Justus GmbH
Sechsheldener Straße 122
35708 Haiger-Sechshelden
DE
info@justus.de

Ähnliche Artikel

Justus Alma 110 Sichtscheibe
Original Sichtscheibe für den Kaminofen Justus Alma 110 Justus Alma 110 Sichtscheibe Eckdaten: Glasscheibe, Scheibe Maße (H) 520 mm Material Glas Form gebogen hitzebeständig 4-fach gelocht
Produktnummer: 01016565

739,75 €*¹

Lieferzeit ca. 2-3 Wochen

Justus Alma 110 Türdichtung
Türdichtung für den Kaminofen Justus Alma 110 Justus Alma 110 Türdichtung Eckdaten: Dichtung, Holzofenschnur Lippendichtung Maße (B/H) 18 mm x 8 mm Länge 3,00 m selbstklebend
Produktnummer: 01019184

Inhalt: 3 Meter (12,05 €*¹ / 1 Meter)

36,14 €*¹

Sofort verfügbar, Lieferzeit: 2-4 Tage

Ausverkauft
Justus Alma 110 Feuerraumauskleidung
Original Feuerraumauskleidung für den Kaminofen Justus Alma 110 Der Hersteller hat die Produktion dieses Artikels eingestellt. Sofern wir über einen Restbestand verfügen, ist dieses Ersatzteil bei uns erhältlich Es gibt verschiedene Ausmauerungen für dieses Modell. Bitte orientieren Sie sich an der Zugumlenkung. (einteilig oder zweiteilig) Die Zugumlenkung dieser Auskleidung ist einteilig. 5-teiliges Set Justus Alma 110 Feuerraumauskleidung Eckdaten: 5 Stück Feuerraumauskleidung, Brennraumsteine Material Vermiculite Seitenstein links (420 x 160 x 30 mm), Seitenstein rechts (420 x 160 x 30 mm) Rückwandstein links (500 x 186 x 33 mm), Rückwandstein rechts (500 x 186 x 33 mm) Zugumlenkung (354 x 300 x 30 mm)  
Produktnummer: 01020206

641,66 €*¹

nicht mehr verfügbar, Produktion eingestellt