Zum Hauptinhalt springen Zur Suche springen Zur Hauptnavigation springen
Originale Ersatzteile
Sichere Zahlungsarten
Sicherer DHL Versand
Einfache Online-Bestellung

Justus Diego W+ Bodenstein hinten links

Bodenstein /  Brennraumstein / Feuerraumstein

 

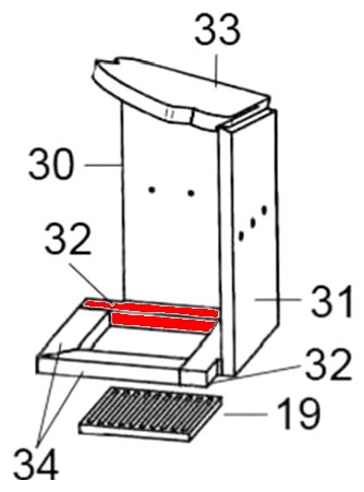
Produktinformationen "Justus Diego W+ Bodenstein hinten links"

Original Bodenstein hinten links für den Kaminofen Justus Diego W+

Justus Diego W+ Bodenstein hinten links Eckdaten:

  • Brennraumstein, Feuerraumstein
  • Vermiculitestein
  • Maße (B/L/H) 57 mm x 327 mm x 30 mm
  • Material Vermiculite
  • Form länglich
  • Position 32 in der Explosionszeichnung
Eigenschaften "Justus Diego W+ Bodenstein hinten links"
Form: länglich
Hersteller: Justus
Material: Vermiculite
Typ: W+
Modell: Diego
Ersatzteilart: Bodenstein

EU-Verantwortlicher

Justus GmbH
Sechsheldener Straße 122
35708 Haiger-Sechshelden
DE
info@justus.de

Ähnliche Artikel

Nur 3 auf Lager!
Justus Diego W+ Zugumlenkung
Original Zugumlenkung für den Kaminofen Justus Diego W+ Justus Diego W+ Zugumlenkung Eckdaten: Prallplatte, Umlenkung Maße (B/L/H) 310 mm x 350 mm x 31 mm Material Vermiculite Position 33 in der Explosionszeichnung
Produktnummer: 01001207

58,71 €*

Sofort verfügbar, Lieferzeit: 2-4 Tage

Justus Diego W+ Ascherost
Original Ascherost für den Kaminofen Justus Diego W+ Justus Diego W+ Ascherost Eckdaten: Ofenrost, Holzofenrost Maße (B/L/H) 210 mm x 15 mm x 210 mm Material Guss Position 19 in der Explosionszeichnung
Produktnummer: 01001209

117,25 €*

Lieferzeit ca. 2-3 Wochen

Justus Diego W+ Sichtscheibe
Original Sichtscheibe für den Kaminofen Justus Diego W+ Justus Diego W+ Sichtscheibe Eckdaten: Schauglas, Kaminscheibe Maße (B/L/H) 340 mm x 480 mm x 4 mm Material Glas Form abgewinkelt hitzebeständig Position 39 in der Explosionszeichnung
Produktnummer: 01001210

675,83 €*

Lieferzeit ca. 2-3 Wochen

Justus Diego W+ Scheibendichtung B
Scheibendichtung B für den Kaminofen Justus Diego W+ Diese Scheibendichtung wird zwischen Sichtscheibe und Scheibenhalterung montiert. Justus Diego W+ Scheibendichtung Eckdaten: Glasdichtung, Dichtung Selbstklebende Dichtung Maße (B/H) 10 mm x 2 mm Länge 3,00 m selbstklebend
Produktnummer: 01018622

Inhalt: 3 Meter (10,56 €* / 1 Meter)

31,69 €*

Sofort verfügbar, Lieferzeit: 2-4 Tage

Justus Diego W+ Türdichtung
Türdichtung für den Kaminofen Justus Diego W+ Typ 4682 A01 Wir empfehlen einen Kleber und zusätzlich Dichtungsabbinder, die das Ausfransen der Enden verhindern. Justus Diego W+ Typ 4682 A01 Türdichtung Eckdaten: Türband, Holzofenschnur Hohlkordeldichtung Länge 3,00 m Durchmesser 9,5 mm
Produktnummer: 01018979

Inhalt: 3 Meter (12,56 €* / 1 Meter)

37,69 €*

Sofort verfügbar, Lieferzeit: 2-4 Tage

Justus Diego W+ Scheibendichtung A
Scheibendichtung A für den Kaminofen Justus Diego W+ Es gibt zwei verschiedene Scheibendichtungen für den Diego W+. Bitte orientieren Sie sich an der Form Ihrer vorhandenen Dichtung. (Flach- oder Profildichtung) Justus Diego W+ Scheibendichtung Eckdaten: Glasdichtung, Glasband Hohlkordeldichtung Länge 3,00 m Durchmesser 6 mm selbstklebend
Produktnummer: 01019264

Inhalt: 3 Meter (8,15 €* / 1 Meter)

24,46 €*

Sofort verfügbar, Lieferzeit: 2-4 Tage

Justus Diego W+ Feuerraumauskleidung
Original Feuerraumauskleidung für den Kaminofen Justus Diego W+ 7-teiliges Set Justus Diego W+ Feuerraumauskleidung Eckdaten: Material Vermiculite Bodenstein links vorne (268/212 x 58 x 30 mm), Bodenstein rechts vorne (268/212 x 58 x 30 mm) Bodenstein links hinten (274 x 58 x 30 mm), Bodenstein rechts hinten (329 x 58 x 30 mm) Seitenstein links (482/425 x 282 x 25 mm), Seitenstein rechts (482/425 x 282 x 25 mm) Zugumlenkung (310 x 350 x 31 mm) Positionen 30, 31, 32, 33 und 34 in der Explosionszeichnung
Produktnummer: 01019586

330,61 €*

Lieferzeit ca. 2-3 Wochen