Zum Hauptinhalt springen Zur Suche springen Zur Hauptnavigation springen
Originale Ersatzteile
Sichere Zahlungsarten
Sicherer DHL Versand
Einfache Online-Bestellung

Wodtke Cookie Zugumlenkung

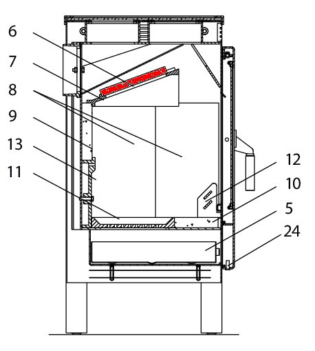
Zugumlenkung /  Rauchgasumlenkung / Prallplatte / Rauchumlenkung / Umlenkung / Flammenschild

 

Produktinformationen "Wodtke Cookie Zugumlenkung"

Original Zugumlenkung für den Kaminofen Wodtke Cookie H 01

Wodtke Cookie H 01 Zugumlenkung Eckdaten:

  • Prallplatte, Umlenkung
  • Maße (B/L/H) 235 mm x 209 mm x 20 mm
  • Material Vermiculite
  • Form rechteckig
  • Position 6 in der Explosionszeichnung
Eigenschaften "Wodtke Cookie Zugumlenkung"
Form: rechteckig
Hersteller: Wodtke
Material: Vermiculite
Typ 2: H 01
Modell: Cookie
Ersatzteilart: Zugumlenkung

EU-Verantwortlicher

wodtke GmbH
Rittweg 55 - 57
D-72070 Tübingen-Hirschau
DE
info@wodtke.com

Ähnliche Artikel

Wodtke Cookie Sichtscheibe
Original Sichtscheibe für den Kaminofen Wodtke Cookie Wodtke Cookie Sichtscheibe Eckdaten: Glaskeramik, Türglas Maße (B/L/H) 350 mm x 410 mm x 5 mm Material Glas hitzebeständig Position 2 in der Explosionszeichnung
Produktnummer: 01001120

482,47 €*¹

Lieferzeit ca. 2-3 Wochen

Wodtke Cookie Ascherost
Original Ascherost für den Kaminofen Wodtke Cookie H 01 Wodtke Cookie H 01 Ascherost Eckdaten: Feuerrost, Brennofenrost Maße (B/L/H) 317 mm x 235 mm x 30 mm Position 11 in der Explosionszeichnung
Produktnummer: 01001128

174,66 €*¹

Sofort verfügbar, Lieferzeit: 2-4 Tage

Wodtke Cookie Türdichtung
Türdichtung für den Kaminofen Wodtke Cookie Wir empfehlen einen Kleber für die Montage, der durch punktuelles Auftragen, unterstützend wirken kann. Auch empfehlen wir Dichtungsabbinder, damit die Dichtschnur-Enden nicht ausfransen. Als optisches Highlight bieten wir ebenfalls Dichtungshülsen an. Wodtke Cookie Türdichtung Eckdaten: Dichtung, Holzofenschnur Kordeldichtung Länge 3,00 m Durchmesser 10 mm
Produktnummer: 01035594

45,21 €*¹

Sofort verfügbar, Lieferzeit: 2-4 Tage

Wodtke Cookie Scheibendichtung
Scheibendichtung für den Kaminofen Wodtke Cookie H 01 Wodtke Cookie H 01 Scheibendichtung Eckdaten: Dichtschnur, Ofenschnur Flachdichtung Maße (B/H) 8 mm x 2 mm Länge 3,00 m selbstklebend
Produktnummer: 01036234

Inhalt: 3 Meter (9,52 €*¹ / 1 Meter)

28,56 €*¹

Sofort verfügbar, Lieferzeit: 2-4 Tage