Zum Hauptinhalt springen Zur Suche springen Zur Hauptnavigation springen
Originale Ersatzteile
Sichere Zahlungsarten
Sicherer DHL Versand
Einfache Online-Bestellung

Oranier Malmö 6 Seitenstein links B

Seitenstein /  Brennraumstein / Feuerraumstein / Kaminofenstein / Brennofenstein / Ofenstein / Holzofenstein

 

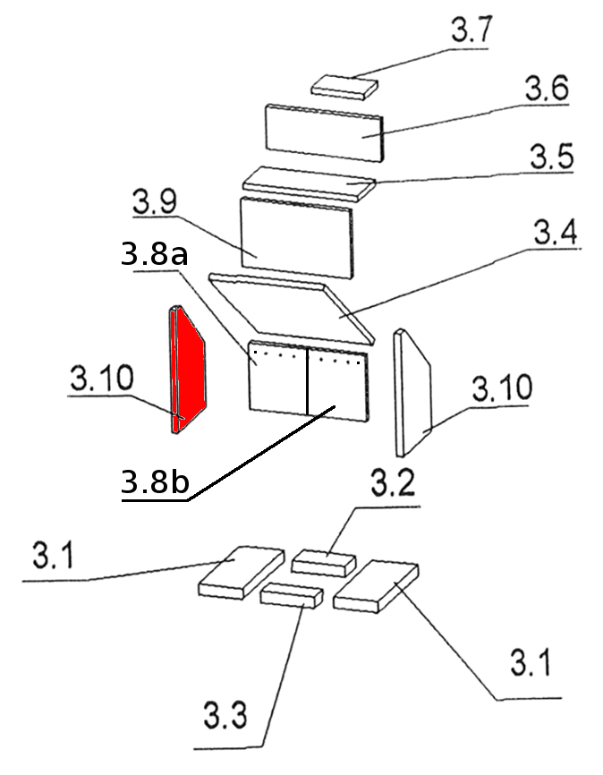
Produktinformationen "Oranier Malmö 6 Seitenstein links B"

Original Seitenstein links B für den Kaminofen Oranier Malmö 6

  • Es gibt verschiedene Ausmauerungen für dieses Modell. Bitte orientieren Sie sich an der Höhe vom Seitenstein rechts.
  • Erfahrungsgemäß passt dieser Feuerraumstein in den Brennraum, dessen Seitenstein rechts eine Höhe von 450 mm hat.

Oranier Malmö 6 Seitenstein links Eckdaten:

  • Feuerraumstein, Holzofenstein
  • Maße (B/L/H) 278 mm x 450 mm x 25 mm
  • Material Skamol
  • Position 3.10 in der Explosionszeichnung
Eigenschaften "Oranier Malmö 6 Seitenstein links B"
Hersteller: Oranier
Material: Skamol
Typ: 6
Modell: Malmö
Ersatzteilart: Seitenstein

EU-Verantwortlicher

Oranier Heiztechnik GmbH
Oranier Straße 1
35708 Haiger
DE
info@oranier.com

Hersteller

Oranier


DE

Ähnliche Artikel

Ausverkauft
Oranier Malmö 6 Sichtscheibe
Original Sichtscheibe für den Kaminofen Oranier Malmö 6 Der Hersteller hat die Produktion dieses Artikels eingestellt. Sofern wir über einen Restbestand verfügen, ist dieses Ersatzteil bei uns erhältlich Oranier Malmö 6 Sichtscheibe Eckdaten: Ofenglas, Glas Maße (B/L/H) 348 mm x 445 mm x 4 mm Material Glas Form rechteckig hitzebeständig Position 53 in der Explosionszeichnung
Produktnummer: 01000220

128,41 €*¹

nicht mehr verfügbar, Produktion eingestellt

Oranier Malmö 6 Zugumlenkung unten B
Original Zugumlenkung unten B für den Kaminofen Oranier Malmö 6 Typ 4664-6, Typ 6646 Es gibt verschiedene Ausmauerungen für dieses Modell. Bitte orientieren Sie sich an der Höhe vom Seitenstein rechts. Erfahrungsgemäß passt dieser Feuerraumstein in den Brennraum, dessen Seitenstein rechts eine Höhe von 450 mm hat. Oranier Malmö 6 Typ 4664-6, Typ 6646 Zugumlenkung unten Eckdaten: Rauchumlenkung, Umlenkung Vermiculitestein Maße (B/L/H) 420 mm x 255 mm x 25 mm Material Vermiculite Position 3.4 in der Explosionszeichnung
Produktnummer: 01016087

39,54 €*¹

Sofort verfügbar, Lieferzeit: 2-4 Tage

Oranier Malmö 6 Ascherost
Original Ascherost für den Kaminofen Oranier Malmö 6 Oranier Malmö 6 Ascherost Eckdaten: Gussrost, Ofenrost Maße (B/L/H) 135 mm x 135 mm x 30 mm Material Guss
Produktnummer: 01016347

44,64 €*¹

Sofort verfügbar, Lieferzeit: 2-4 Tage

Nur 2 auf Lager!
Oranier Malmö 6 Zugumlenkung mittig B
Original Zugumlenkung mittig B für den Kaminofen Oranier Malmö 6 Es gibt verschiedene Ausmauerungen für dieses Modell. Bitte orientieren Sie sich an der Höhe vom Seitenstein rechts. Erfahrungsgemäß passt dieser Feuerraumstein in den Brennraum, dessen Seitenstein rechts eine Höhe von 450 mm hat. Oranier Malmö 6 Zugumlenkung mittig Eckdaten: Umlenkung, Flammenschild Maße (B/L/H) 420 mm x 177 mm x 25 mm Material Vermiculite Position 3.5 in der Explosionszeichnung
Produktnummer: 01016956

33,53 €*¹

Sofort verfügbar, Lieferzeit: 2-4 Tage

Oranier Malmö 6 Scheibendichtung A
Scheibendichtung A für den Kaminofen Oranier Malmö 6 Es gibt verschiedene Scheibendichtungen für dieses Modell. Bitte orientieren Sie sich an der Art der vorhandenen Dichtschnur. (1-teilig oder 2-teilig) Diese Glasdichtung ist 1-teilig. Oranier Malmö 6 Scheibendichtung Eckdaten: Dichtschnur, Holzofenschnur Maße (B/H) 2 mm x 10 mm Länge 2,00 m selbstklebend
Produktnummer: 01018422

Inhalt: 2 Meter (11,31 €*¹ / 1 Meter)

22,61 €*¹

Sofort verfügbar, Lieferzeit: 2-4 Tage

Oranier Malmö 6 Türdichtung B
Türdichtung B für den Kaminofen Oranier Malmö 6 Es gibt verschiedene Türdichtungen für diesen Kaminofen. Bitte orientieren Sie sich an der Form Ihrer vorhandenen Dichtung. (Kordelflachdichtung, Hohlkordeldichtung und Kordeldichtung) Wir empfehlen einen Kleber und zusätzlich Dichtungsabbinder, die das Ausfransen der Enden verhindern. Oranier Malmö 6 Türdichtung Eckdaten: Türband, Dichtung Hohlkordeldichtung Länge 3,00 m Durchmesser 9,5 mm
Produktnummer: 01019013

Inhalt: 3 Meter (11,12 €*¹ / 1 Meter)

33,37 €*¹

Sofort verfügbar, Lieferzeit: 2-4 Tage

Nur 1 auf Lager!
Oranier Malmö 6 Feuerraumauskleidung B
Original Feuerraumauskleidung B für den Kaminofen Oranier Malmö 6 Typ 4664-6, Typ 6646 Es gibt verschiedene Ausmauerungen für dieses Modell. Bitte orientieren Sie sich an der Höhe vom Seitenstein rechts (450 mm). Der Hersteller hat den ehemaligen 1-teiligen Rückwandbereich auf 2-teilig umgestellt. 13-teiliges Set Oranier Malmö 6 Typ 4664-6, Typ 6646 Feuerraumauskleidung Eckdaten: Feuerraumauskleidung, Brennraumsteine Material Vermiculite Bodenstein vorne (133 x 78 x 30 mm), Bodenstein hinten (133 x 58 x 30 mm) Bodenstein links (118 x 276 x 30 mm), Bodenstein rechts (118 x 276 x 30 mm) Seitenstein links (278 x 244/450 x 25 mm), Seitenstein rechts (278 x 244/450 x 25 mm) Rückwandstein links (213 x 240 x 25 mm), Rückwandstein rechts (213 x 240 x 25 mm)  Zugumlenkung unten (420 x 255 x 25 mm), Zugumlenkung oben (195 x 135 x 25 mm) Zugumlenkung mittig (420 x 177 x 25 mm) Abschirmung unten (400 x 250 x 25 mm), Abschirmung oben (420 x 155 x 25 mm)
Produktnummer: 01019888

238,10 €*¹

Sofort verfügbar, Lieferzeit: 2-4 Tage