Zum Hauptinhalt springen Zur Suche springen Zur Hauptnavigation springen
Originale Ersatzteile
Sichere Zahlungsarten
Sicherer DHL Versand
Einfache Online-Bestellung

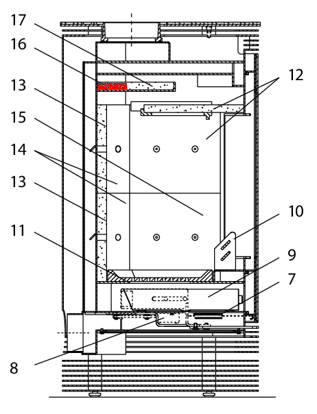
Wodtke Donna Zugumlenkung oben hinten

Zugumlenkung /  Rauchgasumlenkung / Prallplatte / Rauchumlenkung / Umlenkung / Flammenschild

 

Produktinformationen "Wodtke Donna Zugumlenkung oben hinten"

Original Zugumlenkung oben hinten für den Kaminofen Wodtke Donna KK55

Wodtke Donna KK55 Zugumlenkung oben hinten Eckdaten:

  • Rauchumlenkung, Flammenschild
  • Maße (B/L/H) 164/325 mm x 98 mm x 22 mm
  • Material Vermiculite
  • Position 16 in der Explosionszeichnung
Eigenschaften "Wodtke Donna Zugumlenkung oben hinten"
Hersteller: Wodtke
Material: Vermiculite
Typ 2: KK55
Modell: Donna
Ersatzteilart: Zugumlenkung

EU-Verantwortlicher

wodtke GmbH
Rittweg 55 - 57
D-72070 Tübingen-Hirschau
DE
info@wodtke.com

Ähnliche Artikel

Nur 1 auf Lager!
Wodtke Donna Sichtscheibe
Original Sichtscheibe für den Kaminofen Wodtke Donna Der Hersteller hat die Produktion dieses Artikels eingestellt. Sofern wir über einen Restbestand verfügen, ist dieses Ersatzteil bei uns erhältlich Wodtke Donna Sichtscheibe Eckdaten: Kaminglas, Holzofenglas Maße (B/L/H) 347 mm x 692 mm x 4 mm Bogenlänge 390 mm Material Glas hitzebeständig Position 3 in der Explosionszeichnung
Produktnummer: 01001145

1.887,63 €*¹

Sofort verfügbar, Lieferzeit: 2-4 Tage

Wodtke Donna Türdichtung
Türdichtung für den Kaminofen Wodtke Donna Wir empfehlen einen Kleber für die Montage, der durch punktuelles Auftragen, unterstützend wirken kann. Auch empfehlen wir Dichtungsabbinder, damit die Dichtschnur-Enden nicht ausfransen. Als optisches Highlight bieten wir ebenfalls Dichtungshülsen an. Wodtke Donna Türdichtung Eckdaten: Türband, Dichtung Kordeldichtung Länge 3,00 m Durchmesser 10 mm
Produktnummer: 01035604

45,21 €*¹

Sofort verfügbar, Lieferzeit: 2-4 Tage

Wodtke Donna Scheibendichtung
Scheibendichtung für den Kaminofen Wodtke Donna KK55 Wodtke Donna KK55 Scheibendichtung Eckdaten: Glasdichtung, Holzofenschnur Flachdichtung Maße (B/H) 8 mm x 2 mm Länge 6,00 m selbstklebend
Produktnummer: 01036224

Inhalt: 6 Meter (9,52 €*¹ / 1 Meter)

57,12 €*¹

Sofort verfügbar, Lieferzeit: 2-4 Tage

Wodtke Donna Ascherost
Original Ascherost für den Kaminofen Wodtke Donna Wodtke Donna Ascherost Eckdaten: Kaminrost, Gussrost Maße (B/L/H) 275 mm x 273 mm x 30 mm Material Guss Position 13 in der Explosionszeichnung
Produktnummer: 01037060

214,93 €*¹

Sofort verfügbar, Lieferzeit: 2-4 Tage

Ausverkauft
Wodtke Donna Zugumlenkung unten Set
Original Zugumlenkung unten Set für den Kaminofen Wodtke Donna Der Hersteller hat die Produktion dieses Artikels eingestellt. Sofern wir über einen Restbestand verfügen, ist dieses Ersatzteil bei uns erhältlich Dieses Set ersetzt den bisherigen Gussrahmen samt Zugumlenkung unten. (ist nun anders konstruiert) 3-teiliges Set Wodtke Donna Zugumlenkung unten Eckdaten: Brennraumsteine, Feuerraumsteine Material Vermiculite gelochter Seitenstein links oben gelochter Seitenstein rechts oben Zugumlenkung unten
Produktnummer: 01037936

510,21 €*¹

nicht mehr verfügbar, Produktion eingestellt